PENRIL DATABILITY NETWORKS
VISTA VCP-1000
|
Card Type |
Ethernet router |
|
Chip Set |
Unidentified |
|
I/O Options |
NIC module, line interface module (4) |
|
CONNECTIONS | |||
|
Function |
Label |
Function |
Label |
|
1, A, B, and C button |
B1 |
ENTER button |
B10 |
|
2, D, E, and F button |
B2 |
0, dash, comma, and underscore button |
B11 |
|
3, G, H, and I button |
B3 |
DELETE button |
B12 |
|
4, J, K, and L button |
B4 |
LEFT button |
B13 |
|
5, M, N, and O button |
B5 |
UP button |
B14 |
|
6, P, Q, and R button |
B6 |
DOWN button |
B15 |
|
7, S, T, and U button |
B7 |
RIGHT button |
B16 |
|
8, V, W, and X button |
B8 |
Power switch |
SW1 |
|
9, Y, Z, and period button |
B9 | ||
|
NIC Type |
Ethernet |
|
Processor |
80186 |
|
Processor Speed |
20MHz |
|
Chip Set |
Intel 82856 |
|
Maximum Onboard Memory |
2MB DRAM/128K static RAM |
|
I/O Options |
PCMCIA Type I slot |
|
Maximum network Rate |
10Mbps |
|
Data Bus |
Proprietary |
|
Topology |
Linear Bus/Star |
|
Wiring Type |
Unshielded twisted pair AUI transceiver via DB-15 port RG-58A/U 50ohm coaxial |
|
CONNECTIONS | |||
|
Function |
Label |
Function |
Label |
|
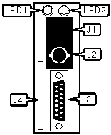
Unshielded twisted pair |
J1 |
AUI transceiver via DB-15 port |
J3 |
|
RG-58A/U 50ohm coaxial |
J2 |
PCMCIA Type I slot for memory card |
J4 |
|
DIAGNOSTIC LED(S) | |||
|
LED |
Color |
Status |
Condition |
|
LED1 |
Green |
On |
10Base-T network connection is good |
|
LED1 |
Green |
Off |
10Base-T network connection is broken |
|
LED2 |
Green |
Blinking |
Network activity detected |
|
LED2 |
Red |
On |
Coaxial network connection is broken |
|
LED2 |
Red |
Blinking |
Network collisions detected |
|
LED2 |
N/A |
Off |
Network activity not detected |
|
NIC Type |
Ethernet |
|
Processor |
80186 |
|
Processor Speed |
10MHz |
|
Chip Set |
Intel 82586 |
|
Maximum Onboard Memory |
512KB DRAM/64K NVRAM/64KB static RAM |
|
Maximum network Rate |
10Mbps |
|
Data Bus |
Proprietary |
|
Topology |
Linear Bus/Star |
|
Wiring Type |
Unshielded twisted pair AUI transceiver via DB-15 port RG-58A/U 50ohm coaxial |
|
CONNECTIONS | |||
|
Function |
Label |
Function |
Label |
|
Unshielded twisted pair |
J1 |
AUI transceiver via DB-15 port |
J3 |
|
RG-58A/U 50ohm coaxial |
J2 | ||
|
DIAGNOSTIC LED(S) | |||
|
LED |
Color |
Status |
Condition |
|
LED1 |
Red |
Blinking |
Network activity detected |
|
LED1 |
Red |
Off |
Network activity not detected |
|
LED2 |
Green |
On |
10Base-T network connection is good |
|
LED2 |
Green |
Off |
10Base-T network connection is broken |
|
Card Type |
Serial |
|
Processor |
Unidentified |
|
Processor Speed |
Unidentified |
|
Chip Set |
Unidentified |
|
Maximum Onboard Memory |
Unidentified |
|
I/O Options |
Serial ports (8) |
|
Data Bus |
Proprietary |
|
CONNECTIONS | |||
|
Function |
Label |
Function |
Label |
|
Serial ports 1 - 8 |
CN1-CN8 |
Connector for VCP-1000 |
W1 |
|
Card Type |
Serial |
|
Processor |
Unidentified |
|
Processor Speed |
Unidentified |
|
Chip Set |
Unidentified |
|
Maximum Onboard Memory |
Unidentified |
|
I/O Options |
Serial ports (32) |
|
Data Bus |
Proprietary |
|
CONNECTIONS | |||
|
Function |
Label |
Function |
Label |
|
Serial ports 1 - 32 |
CN1-CN4 |
Connector for VCP-1000 |
W1 |
|
Serial ports 1 - 32 |
J1-J32 | ||
|
Note:The backplane of this card will have either J1-J32 installed or CN1-CN4 installed, but not both. | |||